You are here
BY601 Rope Tension Load Cell
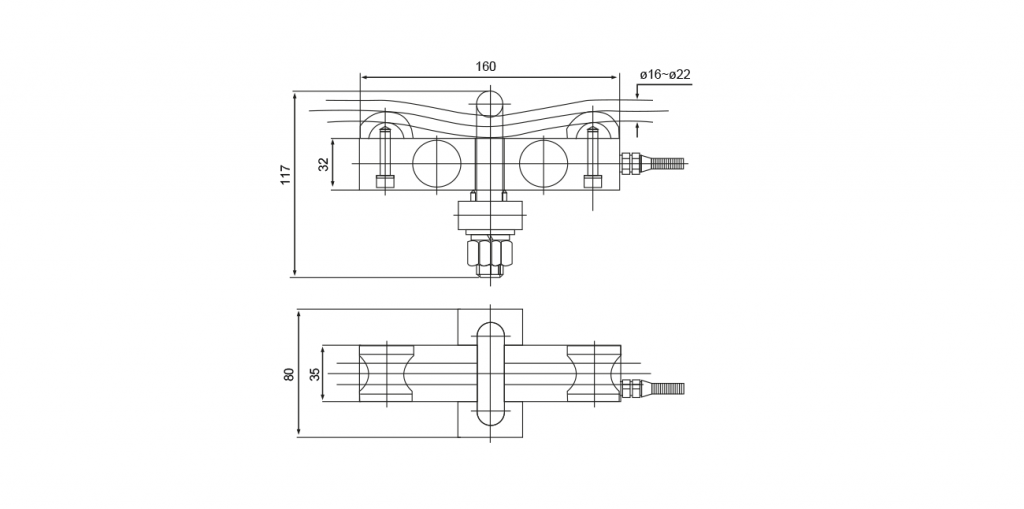
Baykon BY601 is Welded Steel Construction Load Cell used for wire rope tension force measurement, overload alarming and force measurement of similar testing systems.
Key Features
- Capacities: 1~3 t
- Material: Alloy Steel
- Protection Class: IP67
- High Accuracy
Key Features:
-Capacities: 1~3 t
-Material: Alloy steel
-Protection class: IP67
-High accuracy
-Material: Alloy steel
-Protection class: IP67
-High accuracy

